45 - Grenades explosives contemporaines
Grenades réglementaires dans l'armée française
Les grenades offensives Modèle 1937 et Défensive Mle 37/46 étaient toujours décrites sur le manuel TA150 CONNAISSANCE ET ENTRETIEN
DE L'ARMEMENT édition 2008.
Grenade offensive modèle F1 et F1A :
C'est une grenade conçue début de années 2000 par Titanite SA à Pontallier sous la désignation LU216 et en service dans l'armée française. C’est une grenade en matière plastique moulée de forme ovoïde, fermée au fond par un bouchon. Son poids est de 190 g (BA inclus) dont 72g de Tolite pulvérulente.
Elle est amorcée par un BA F11. Il existe également un modèle F1A permettant un amorçage par un BA F11 ou un F13.
Sa couleur est verte avec des marquages en jaune : GR MA OF F1 - T dans un cercle - (n°lot - Fabriquant - Année).
Grenades défensives modèle F1 et F1A :
C'est une grenade conçue début de années 2000 par Titanite SA à Pontallier sous la désignation LU213 et en service dans l'armée française. Elle présente un corps de forme ovoïde quadrillé en matière plastique, moulé, fermé au fond par un bouchon. Le corps renferme un manchon métallique pré entaillé (de 100 g produisant 1100 éclats d'environ 0.09 g) et des billes d'acier de 1,2 à 2,4 mm de diamètre disposées aux deux extrémités ; Son poids est de 280 g (BA de 55g inclus) dont 90 g d'hexolite (Composition B).
La grenade Mle F1 est amorcée par un BA F11 seulement et la grenade Mle F1A peut être amorcée par un F11 ou un F13. La différence entre la grenade défensive Mle F1 et F1A se trouve dans la forme de l’alvéole qui reçoit le bouchon allumeur.
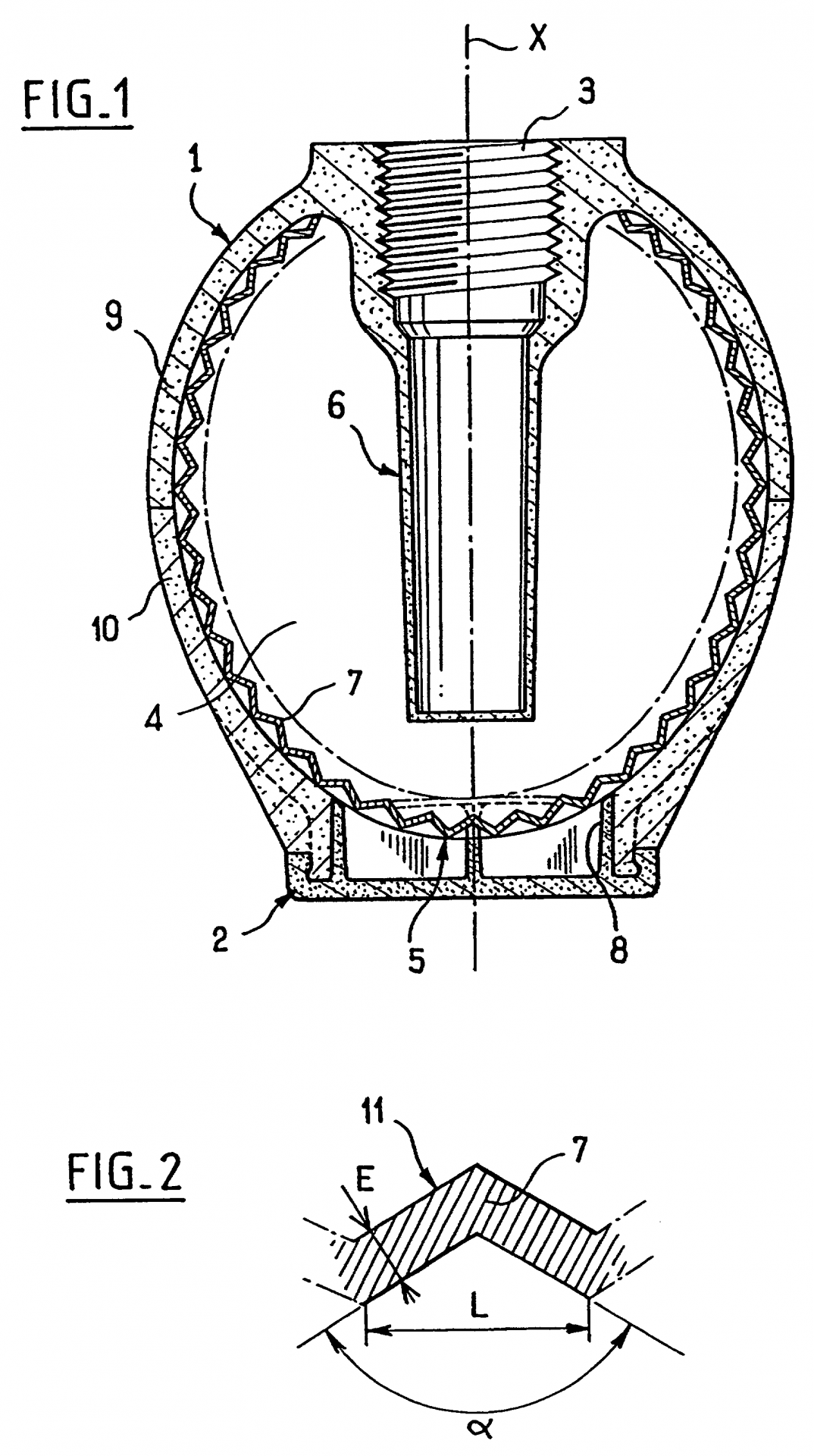
La nouvelle grenade défensive reprend le concept de grenade à fragmentation à périmètre limité. En effet, les grenades défensives type F1 1915 ou Déf 37/46 projetent des éclats dangereux jusqu'à 100 m et nécessitent leurs envoies sous couvert d'un abri. Les nouvelles grenades à manchon de fragmentation sont mortelles sur un rayon de 10 m avec un périmètre de sécurité de 22 m théorique ce qui évite d'exposer le lanceur aux éclats.


Grenades non réglementaires dans l'armée française
Grenade ALSETEX SAE 310 :
C'est la version d'Alsetex de la grenade à fragmentation controlée très proche du modèle DF F1. Son corps est ovale en plastique d'un diamètre de 57 mm sur 95 mm de hauteur allumeur inclus est composé d'une enveloppe de fragmentation qui sous l'effet d'une charge de 90 g d'hexolite (RDX/TNT) disperse 1300 fragments. Comme la précédente, le rayon léthale est de 5 m avec un rayon de sécurité pour le lanceur de 20 m. Son poids est 300 g et le délai de l'allumeur de 4 s.

Grenade ALSETEX SAE 210 :
C'est la version d'Alsetex de la grenade modèle OF F1. Son corps est ovale en plastique d'un diamètre de 55 mm sur 76 mm de hauteur (allumeur inclus) chargée de 100 g de TNT provoquant un effet de souffle. Comme la précédente, le rayon léthale est de 5 m avec un rayon de sécurité pour le lanceur de 15 m. Son poids est 300 g et le délai de l'allumeur de 4 s.

Grenade LACROIX type 0052 et 0052A :
Le type 0052 et 0052A sont des grenades à main ayant un corps ovale en plastique en deux sections d'un diamètre de 59 mm avec un fond scellé à la base et un allumeur type 1760 d'un retard de 4 s et d'un poids de 50 g. Sa hauteur avec allumeur est de 89.5 mm.
Le type 0052 est une grenade offensive tandis que le type 0052A est une grenade défensive produisant des fragments préformés.
La grenade type 0052 agit par effet de souffle dans un rayon d'action de 5 m avec une distance de sécurité de 15 m pour le lanceur. Son poids est 190 g dont 100 g d'explosif.
Le type offensif 0052A contient une enveloppe plaquée cuivre de 33 g striée d'incisions concaves dirigées vers le centre de la charge explosive formant 950 facettes de 0.035 g. A l'explosion, chaques facettes sont détachées avec une vitesse initiale très élevée et perdent rapidement leur énergie. Le rayon d'action reste limité à 5 m avec une distance de sécurité de 25 m pour le lanceur. A 25 m, les fragments ne pénétrent pas 150 um de plastique. Son poids est de 210 g dont 90 g d'explosif.


Commentaires
-
- 1. Whatsapp(+27(838-80-8170)Selling authentic IELTS/TOEFL Certificates Online in Kuwait Qatar, Egypt, Jordan, Bahrain , Thailand Inscription instantanée 100% authentique Duolingo test d'anglais, Ielts, Toefl, Toeic sans examen Le 08/08/2025
(WHATSAPP (+27(838-80-8170) Acheter Diplôme de licence ,GMAT,TOEFL,Duolingo test sans examen en France avec vérification en ligne:Appel(/DELF.DALF. TELC/GOETHE A1 A2 B1 B2 C1 C2 .. OBTENEZ #MRCP #MRCPCH #MRCS #MRCOG #FRCR #FRCPath #MFDS EN LIGNE MAINTENANT
Passer le Tests TOEFL, TOEIC et Duolingo sans examen en 24 heures.avec un code QR valide
(+27(838-80-8170) Inscription instantanée 100% authentique GEOTHE,OSD,TELC,a1-A2-b1-B2-c1-c2 (DILF, DELF, DALF, TEF, TCF, TFI,PRINCE2)PMP # NEBOSH # SSC # CAT # SAT GRE, PTE, MET, GMAT, DUOLINGO test d'anglais,IELTS Celi b2,Toefl, Toeic sans examen : Passeports, Permis de conduire, Cartes d'identité, Visas : Grade AA+ Contrefaçon (EUR)-ZAR-AED-AUD-CHF-MYR-CAD-CNY-USD-THB. Billets de banque ATM de qualité indétectable £, $, €
obtenir 100% authentiques voltaire,BPJEPS,DUOLINGO anglaise TEST,NEBOSH, PTE, GMAT, PMP, A1, A2, B1, B2, C1, C2, GRE, ESOL TOEIC ,IELTS, TOEFL, PMP, CISSP, SANS EXAMEN
@Bonjour ami, DUOLINGO.IELTS.GMAT.GRE.PTE.TOEIC.toefl sans examen.
Passer le Tests TOEFL, TOEIC et Duolingo sans examen en 24 heures(newids213@gmail.com )avec un code QR valide
@Bonjour Diplôme de licence email: ?( newids213@gmail.com )
Instantané (CISSP/)Sans Examen/GRE,PTE,PMP,GED.SSAT: IELTS Band 7.5 instantané sans test
Acheter permis de conduire((+27(838-80-8170)TOEFL sans examen
100% PASS PMP WITHOUT EXAM USA ... Instant (TOEIC, TOEFL ,ID's )certificates
Obtenir des certificats enregistrés GMAT/GRE/DUOLINGO/TOEIC/TOEFL sans examen
Improve your TOEFL/IELTS/TOEIC results./CISSP,PMP,GRE WITHOUT EXAM
les certificats Toeic, Duolingo English Test, IELTS, GRE, Celi b2, Toefl en ligne sans examen AUTODESK:
Achetez des passeports, visas, numéros de sécurité sociale et permis délivrés par le gouvernement, valables 24 heures. TOEFL, PMP et IELTS sont garantis sans examen.
Obtenir un TAGE MAGE, GMAT, BAC, BTS valide inscrit sans examen
Obtenez le TAGE MAGE enregistré qui est plus facile que le GMAT.whats app (+27(838-80-8170)
Comment obtenir la bande souhaitée pour l'inscription instantanée aux tests IELTS/TOEFL/TOEIC/GMAT/GRE/PTE
HEC PARIS, EDHEC , ESCP,INSEAD, ESSEC. Instant (CISSP/)WitHOut ExAm/ whats app ((+27(838-80-8170))/Celi b2/Toeic=in 24hours.
Réussir l'examen oet, le certificat ielts, l'examen CPA, l'examen CIA Challenge USA
obtenir bep mécanique motocycle CFA de Prouvy en France
Achetez Gmat, 100% Duolingo test, TOEIC, PMP, Authentique, TOEFL. whats app((+27(838-80-8170))
Whatzap(+27(838-80-8170))Obtenez les certificats Toeic, Duolingo English Test, IELTS, GRE, Celi b2, Toefl en ligne sans examen AUTODESK:
Obtenir un TAGE MAGE, GMAT, BAC, BTS valide inscrit sans examen
Acheter Diplôme de licence ,GMAT,TOEFL,Duolingo test
Obtenir un approuvée diplôme valide avec vérification. (( newids213@gmail.com)
Obtenir un approuvée diplôme valide avec vérification en ligne sans examen:watsap:(+27(838-80-8170)
#ACHETER approuvée voltaire,BPJEPS,DUOLINGO English TEST,#NEBOSH, #IELTS, #TOELF, #GMAT, #GRE, #PTE, #NEBOSH, #ESOL, #TOEIC, #CELTA/#DELTA, EN INDE, KOWEÏT, ALLEMAGNE, ESPAGNE, QATAR, BRÉSIL, JORDANIE, ALLEMAGNE, CANADA, SINGAPOUR, JAPON, ETATS-UNIS, ARABIE SAOUDITE, MOYEN-ORIENT
Deutsch A1 - C1, TestDAF,DUOLINGO English TEST, Goethe B1, B2, C1, C2, Gültige GOETHE - TELC Zertifikat, C2 Zertifikat. 100% genuine and authentic Proxy exams solutions.
Achetez des passeports, visas, numéros de sécurité sociale et permis délivrés par le gouvernement, valables 24 heures. TOEFL, PMP et IELTS sont garantis sans examen.
Whatsapp(+27(838-80-8170)Selling authentic IELTS/TOEFL Certificates Online in Kuwait Qatar, Egypt, Jordan, Bahrain , Thailand
Inscription instantanée 100% authentique Duolingo test d'anglais, Ielts, Toefl, Toeic sans examen
*☎W*h*a*t*s*Ap (+27(838-80-8170) )obtenir 100% authentiques voltaire,BPJEPS,DUOLINGO anglaise TEST,NEBOSH, PTE, GMAT, PMP, A1, A2, B1, B2, C1, C2, GRE, ESOL TOEIC ,IELTS, TOEFL, PMP, CISSP, SANS EXAMEN / Passeports, permis de conduire, cartes d´identité, visas, certificats de naissance, diplômes, fausse monnaie, $ ,? £ /DILF, DELF, DALF, TEF, TCF, TFI, PMP, CAPM, RMP et PRINCE2 en ligne sans examen. la vérification en ligne est réalisable à 101 %
Whatzap (+27(838-80-8170) BTS, BAC, DALE/DALF. GOTHE TELC A1 A2 B1 B2 C1 C2...
email: ?( newids213@gmail.com )
Postulez pour un vrai TEST DUOLINGO, passeports, permis de conduire, IELTS, DIPLÔME B1 C1 GOETHE/TELC/OSD A1
Acheter un permis de conduire enregistré et non enregistré en ligne
Achetez des passeports enregistrés et non enregistrés en ligne
Achetez des SSN enregistrés et non enregistrés en ligne
Achetez des certificats de naissance enregistrés et non enregistrés en ligne
Acheter des visas enregistrés et non enregistrés en ligne
Achetez des cartes d'identité enregistrées et non enregistrées en ligne
Achetez des certificats enregistrés et non enregistrés en ligne(Whatzap (+27(838-80-8170)
Achetez en ligne TOEFL, IELTS enregistré et non enregistré
Obtenez une licence de pilote de nouveauté en ligne
Obtenez des passeports fantaisie en ligne
Obtenez la nouveauté SSN en ligne
Obtenez des certificats de naissance de nouveauté en ligne
Obtenez des cartes d'identité de nouveauté en ligne
Obtenez un visa de nouveauté en ligne
Obtenez des certificats de nouveauté en ligne
Obtenez la nouveauté TOEFL, IELTS en ligne
Achetez un permis de conduire authentique en ligne
Achetez des passeports authentiques en ligne
Achetez un SSN authentique en ligne
Achetez des certificats de naissance authentiques en ligne
Achetez des cartes d'identité authentiques en ligne
Acheter un véritable visa en ligne
Achetez des certificats authentiques en ligne(Whatzap (+27(838-80-8170))
Achetez des TOEFL, IELTS authentiques en ligne
INSTANT 100% ENREGISTRÉ voltaire,BPJEPS,DUOLINGO English TEST,IELTS, TOEFL, CISSP TOEIC, PMP, PTE, GMAT SANS EXAMEN PASSEPORT, CARTE D'IDENTITÉ, VISA, PERMIS DE CONDUIRE,
BESOIN d'un certificat DUOLINGO English TEST,IELTS / TOEFL / ESOL / GRE / PTE / GMAT / Nebosh / CELTA / DELTA VÉRIFIÉ de toute urgence en Australie, Arabie Saoudite, Oman, Liban, Qatar, Canada, Inde, Dubaï, Iran , Pakistan, Biélorussie, Koweït, Allemagne, France,
Commandez un permis de conduire authentique, un visa, un passeport, des cartes d'identité, des certificats en ligne // (+27838808170))Achetez 100% authentique IELTS, TOEFL, PMP, CISSP, SANS EXAM/Passeports, Permis de conduire, Cartes d'identité, Visas, Contrefaçon Money,$,?£: Nous utilisons des équipements et des matériaux de haute qualité pour produire des documents authentiques et contrefaits. Toutes les caractéristiques secrètes des vrais passeports sont soigneusement dupliquées pour nos documents enregistrés et non enregistrés. Uniquement des passeports, permis de conduire, cartes d'identité, timbres, visas, diplômes scolaires et autres produits enregistrés et non enregistrés d'origine pour un certain nombre de pays comme*:*USA, Australie, Belgique, Brésil, Canada, Italien, Finlande, France, Allemagne, Israël, Mexique, Pays-Bas, Afrique du Sud, Espagne, Royaume-Uni.( newids213@gmail.com)
Inscription instantanée 100% authentique DUT,DALF/DELF,BPJEPS,DUOLINGO anglaise TEST, Ielts,PMP, CISSP,Toefl, Toeic GRE, ESOL,B1, B2, C1, C2 sans examen
Acheter Diplôme de licence ,GMAT,TOEFL,Duolingo test sans examen en France avec vérification en ligne/DELF.DALF. TELC/GOETHE A1 A2 B1 B2 C1 C2.
WHATSAPP (+27(838-80-8170)) obtenir 100% authentiques voltaire,BPJEPS,DUOLINGO anglaise TEST,NEBOSH, PTE, GMAT, PMP, A1, A2, B1, B2, C1, C2, GRE, ESOL TOEIC ,IELTS, TOEFL, PMP, CISSP, SANS EXAMEN / Passeports, permis de conduire, cartes d´identité, visas, certificats de naissance, diplômes, fausse monnaie, $ ,? £ -
- 2. anonymous Le 23/08/2021
Merci pour votre site...
Je cherchais des infos sur le délai d'allumage des grenades...
Pontallier ? ou Pontarlier ?-
- titus2hLe 11/09/2021
Bonjour, T.N.P. : ETABLISSEMENT TITAN PONTAILLER fabriquait des grenades contemporaines type F1 et FA1 avec bouchon allumeur F11 ou F13. Le délai d'allumage entre 4 et 6 s. Cordialement
-
- 3. Dudulle.69 Le 09/11/2020
Bonjour
Bravo pour le site, très complet et très clair.
J'aurais une question :
Quelle est ou quelles sont les grenades réellement employées en OPEX de nos jours par l'armée française ?
Cordialement-
- titus2hLe 02/12/2020
Bonjour, Je ne suis pas du tout dans le milieu militaire et ne peux répondre à cette question précise. L'avis de militaires de carrière seraient plus indiqués pour répondre à cette question. La documentation la plus récente à ma disposition en 2008 est disponible sur ce lien et liste les grenades du chapitre "contemporaine". https://docplayer.fr/42892842-Titre-xv-connaissance-et-entretien-de-l-armement.html Cependant, quand on regarde les documentaires des interventions françaises récentes, les grenades les plus souvent utilisées semblent être essentiellement des grenades pour LGI compte tenu des terrains et des distances d'engagement. Cordialement.
-
- 4. Michel JUSTE Le 17/01/2020
Bonjour,
Je suis écrivain et je recherche des informations sur les retards avant explosion. Est-il toujours fixé et immuable , est-il identique pour tous les types de grenade ? Et quel est-il en règle générale ? Merci-
- titus2hLe 23/01/2020
Bonjour, les retards varient selon les allumeurs (voir chapitre correspond notamment 46). Les grenades de guerre modernes françaises ont un retard qui varient entre 5 à 7 secondes. Ce ne sont pas des horloges suisses d'où l'écart important de 2s. Certains inventeurs réfléchissent à un allumage par bouchon allumeur électronique réglable avec plus de précision mais cette technique reste encore au stade expérimental en France comme ailleurs. Les allumeurs avec des retards plus courts sont généralement utilisés pour des grenades dont le risque d'éclatement prématuré est moins dramatique (lacrymogènes, fumigènes). Par contre il ne faut pas penser que de tels allumeurs puissent être utilisés sur des grenades de guerre car ils ne comportent pas de détonateur. En effet, les explosifs modernes ont besoin d'une charge d'éclatement fournit par le détonateur; l'énergie fournit par la combustion du retard ou un renforçateur de poudre noire étant insuffisant pour provoquer une explosion. Les grenades peuvent être équiper de dispositif de piégeage à traction ou à pression. En général, le dispositif est à allumage immédiat.
-
- 5. Pascal Desvaux Le 25/01/2019
Bonjour monsieur,
j adore votre site...je suis collectioneur.
Je souhaite rentrer en contact avec vous.
bien a vous
Pascal-
- titus2hLe 25/01/2019
Bonjour, Merci de votre intérêt. On peux me contacter par mail par le biais de l'onglet Contact sur la barre d'accueil. Bonne journée.
Ajouter un commentaire