12 - Les allumeurs automatiques
L'évolution technique des allumeurs est très rapide au cours de la première guerre puisque les allumeurs à traction sont vites modifiés pour des allumeurs à percussion dès 1915. L'émulation patriotique va toucher les ingénieurs et inventeurs français qui vont proposer à la commission de l'armement de nombreux types d'allumeurs d'un concept inovant. En effet, ce concept toujours d'actualité de nos jours, permet d'automatiser la mise à feu de la grenade alors que celle-ci a quitté la main du lanceur permettant une bien meilleure sécurité d'utilisation.
Ce chapitre décrit l'allumeur Billiant type B qui est le plus fréquent allumeur automatique de la première guerre. Les autres allumeurs ont eu un succès plus limités en dehors de l'allumeur Bourny réglementaire dans les années 30. Beaucoup non pas franchi le stade de prototype et nous n'avons que leur description schématique dans l'ouvrage de référence de Patrice Delhomme.
Allumeurs automatiques Billant :
Trois types connus dont le Mle 1916 1er type qui est retenu par la commission de l’armement pour équiper les grenades françaises.
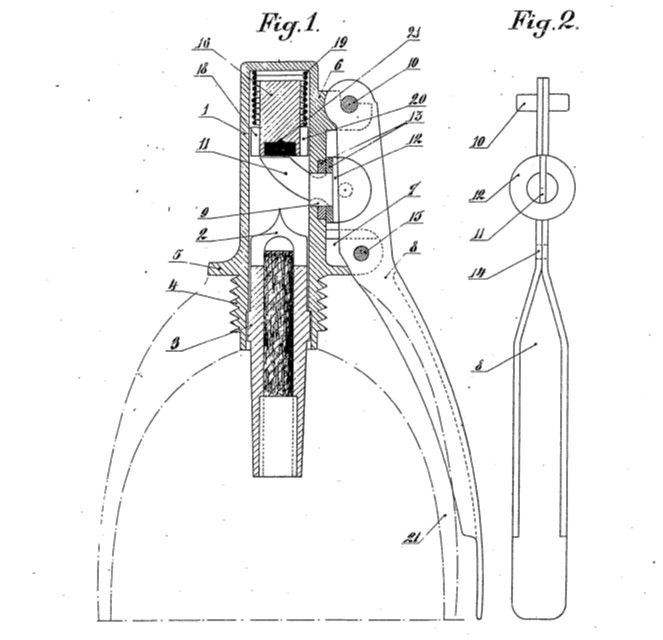
Allumeur Billant Mle 1916 1er type ou B :
L’intérêt du bouchon allumeur Billiant est de permettre par son levier de sécurité d’armer la grenade uniquement après que celle-ci ait quitté la main du lanceur.
Il pèse 90 g et comprend un corps tubulaire en alliage de plomb et d’étain (1) dans le lequel est disposée une mèche fusante d’un retard de 5 à 6 secondes (2) et au bout duquel est serti un détonateur N°7 (3) sur une bague de calage (4). La tête du bouchon présente une cavité élargie qui est fermé par un couvercle serti (5) ; A l’intérieur de cette cavité, sont disposées deux amorces (6) de part et d’autre de la mèche fusante. Entre les deux amorces est monté un ressort (7) en forme de V dont les branches tendant à s’écarter de façon à venir percuter simultanément les deux amorces. Un verrou (8) qui traverse le couvercle du bouchon, s’engage entre les branches du ressort de percussion et les maintient en place.
Ce verrou est sollicité par un ressort (9) placé à l’intérieur du bouchon ; il est retenu par un levier de déclenchement (10) qui est agrafé, d’une part, à un tenon porté par le bouchon et qui est fixé, d’autre part, au moyen d’une goupille de sécurité en forme d’épingle de sureté c'est-à-dire deux branches parallèles dont l’une s’agrafe sur l’extrémité de l’autre par un crochet (11) portant un anneau (12).
L’étanchéité du verrou est assurée par un joint en caoutchouc (13) et par une rondelle métallique (14) pressée elle-même par le ressort de verrou sur une rondelle de cuir (15). Une rondelle de cuir (16) assure l’étanchéité du corps de grenade.
Le levier de sûreté demandant de la tôle extra-douce dont le pays manquait, ses allumeurs seront utilisés en première ligne sur les grenades F1 et antichar.
Allumeur Billant Mle 1916 second type :
Allumeur Billant Mle 1916 troisième type :
Allumeur Bourny Mle 1918 1er type :
Allumeur Bourny Mle 1918 2ème type :
L'allumeur Bourny second type deviendra réglemantaire sous la dénommination d'allumeur Modèle 1931 avant d'être remplacé 4 ans plus tard par l'allumeur Bornstein Modèle 1935.
Il est décrit plus précisémment section 31.



Allumeur Brandt Mle 1917 1er type :
Allumeur Brandt Mle 1917 2ème type :



Allumeur automatique Leblanc :
Jugé dangereux, l’allumeur H.Leblanc ne fût pas retenu par la commission d’armement. En effet, la cuiller pouvait sortir de son axe d’articulation en cas de chute malgré a présence de sa goupille et parfois lors du maintien serré de la cuiller contre le corps de la grenade une fois dégoupillée avec comme conséquence d’amorcer précocement la grenade.
Les américains qui souhaitaient fabriquer leur propre grenade nationale la MK 1 firent en 1917 une copie de la grenade F1 en retenant l’allumeur de Leblanc après modification de l’axe d’articulation et correction des défauts de jeunesse. Secondairement, le corps sera également modifié par augmentation de la pré-fragmentation à 40 fragments contre 38 pour la F1. Ce sera la MK 2.


Ajouter un commentaire