Brevets de l'INPI 1900-1920
Brevets INPI
L'Institut national de la propriété industrielle (INPI) donne accès aux brevets d'invention demandés en France du XXe siècle à nos jours.
Cette liste montre par ordre chronologique les demandes de brevets d'inventeurs français ou étrangers. Certaines de ces inventions sont restées à l'état d'esquisses et d'autres annotés d'une étoile ont été fabriquées.
Diederichs Louis
- bombe à main pour l'infanterie, la défense des forts, tranchées, etc.
- Description : grenade à balle
- N° de publication : FR8041 E
Diederichs fr8041e- Date de demande : 1906-10-19
- Date de publication : 1907-12-20
- Demandeurs/Inventeurs : Diederichs Louis
Citations : 0
Rheinische Metallw & Maschf
- Grenade à main
- Description : grenade percutante à manche et empennage
- N° de publication :FR378231 A
Rheinische metallw fr378231a- Date de demande : 1907-05-29
- Date de publication 1907-09-27
- Demandeurs/Inventeurs : Rheinische Metallw & Masch
Hale Frederick Marten
- Perfectionnements dans les grenades explosives
- Description : grenade à fusil Marten Hale
- N° de publication : FR396036
Marten hale fr396036a- Date de demande : 1908-10-17
- Date de publication :1909-03-30
- Demandeurs/Inventeurs : Hale Frederick Marten
Citations : 0
Michel De Zelensky
- grenade à fusil
- Description : grenade à fusil ovoïde à tige
- N° de publication :FR416317
Zelenski fr416317a - Date de demande : 1910-04-13
- Date de publication :1910-10-17
- Demandeurs/Inventeurs : Michel De Zelensky
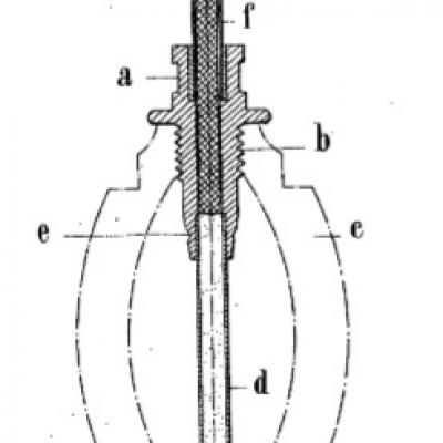
Niels Waltersen Aasen
- Description : principe de percussion de la AASEN
Aasen fr425743a - N° de publication : FR425743 A
- Date de demande : 1911-02-06
- Date de publication : 1911-06-19
- Demandeurs/Inventeurs : Niels Waltersen Aasen
Dynamit Nobel Ag
- grenade en forme de disque
- Description : grenade à main percutante en forme de disque
- N° de publication : FR436853 A
Dynamit fr436853a- Date de demande : 1911-11-25
- Date de publication :1912-04-06
- Demandeurs/Inventeurs : Dynamit Nobel Ag
Leon Roland
- grenade mécanique
- Description : Grenade sphérique précurseur de la Mill's
- N° de publication :FR461447 A
Roland fr461447a - Date de demande : 1913-08-18
- Date de publication :1913-12-29
- Demandeurs/Inventeurs : Leon Roland
Simeon Delattre
- Description : Brevet d'invention du mortier Delattre St Chamond
- N° de publication :FR473548 A
Delattre fr473548a - Date de demande : 1914-06-16
- Date de publication :1915-01-14
- Demandeurs/Inventeurs : Simeon Delattre
Citations :
Céleste Besozzi
- Système de grenade à main
- Description : Description de la Besozzi
- N° de publication :FR502120A
Besozzi fr502120a - Date de demande : 1915-03-10
- Date de publication : 1920-05-05
- Demandeurs/Inventeurs : Céleste Besozzi
Georges Paul Doux
- grenade à main
- Description : Corps de grenade à fragmentation
- N° de publication : : FR478414 A
Doux fr478414a - Date de demande : 1915-04-16
- Date de publication : 1915-12-10
- Demandeurs/Inventeurs : Georges Paul Doux
Thuau Fils
- Grenade
- Description : Corps de grenade à fragmentation - brevet F1 ?
- N° de publication :FR478480 A
Thuau fr478480a - Date de demande : 1915-04-22
- Date de publication :1915-12-15
- Demandeurs/Inventeurs : Thuau Fils
Citations : 4
Thuau Fils
- Grenade
- Description : Corps de grenade
- N° de publication : FR478481 A
Thuau fr478481a - Date de demande : 1915-04-22
- Date de publication : 1915-12-15
- Demandeurs/Inventeurs : Thuau Fils
Citations : 0
Louis Leon Billant
- grenade à main percutante à stabilisateur et déclanchement automatique après départ
- Description : Brevet de la grenade P1
- N° de publication : FR505051 E
Billant p1 1915 04 26 fr505051a - Date de demande : 1915-04-26
- Date de publication :1920-04-28
- Demandeurs/Inventeurs : Louis Leon Billant
Lanhoffer Edmond
- Enveloppe de bombe à main en fibro-ciment ou autre composition à base de ciment
- Description : enveloppe de grenade en ciment
- N° de publication : FR488001 A
Lanhoffer fr488001a- Date de demande : 1915-06-14
- Date de publication : 1918-08-13
- Demandeurs/Inventeurs : Lanhoffer Edmond
Citations : 0
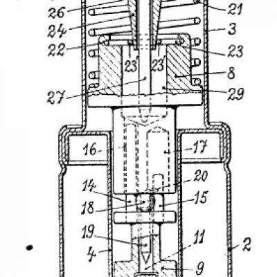
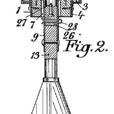
Marcel Gaupillat
- Bouchon pour la fixation sur une grenade de tout l'ensemble du dispositif de mise à feu y compris le détonateur
- Description : Brevet du bouchon allumeur en plomb type Mle 15 et 16 à percussion.
- N° de publication :FR491220 A
Gaupillat fr491220a (85.37 Ko)- Date de demande : 1915-07-05
- Date de publication :1919-05-27
- Demandeurs/Inventeurs : Marcel Gaupillat
Georges Eugene Ezbelent
- grenade à main avec dispositif assurant l'éclatement, tout en donnant une sécurité parfaite avant et pendant le lancement
- Description : grenade sphérique percutante
- N° de publication :FR490987 A
Ezbelent fr490987a (242.12 Ko)- Date de demande : 1915-07-10
- Date de publication :1919-05-17
- Demandeurs/Inventeurs : Georges Eugene Ezbelent
Louis Leon Billant
- grenade à main percutante à stabilisateur et déclanchement automatique après départ
- Description : système de stabilisation de la P1
- N° de publication :FR22096 E
Billant p1 fr22096e (93.25 Ko)- Date de demande : 1915-07-19
- Date de publication :1921-05-12
- Demandeurs/Inventeurs : Louis Leon Billant
Otto Buss ; Albert Delas
- grenade explosive percutante
- Description : grenade percutante resssemblant à une tête de P3.
- N° de publication :FR20808 E
Buss fr488025a - Date de demande : 1915-07-22
- Date de publication :1919-07-22
- Demandeurs/Inventeurs : Otto Buss ; Albert Delas
Citations : 0
Lioubicha Praportchetovitch
- grenade à main
- Description : système d'allumeur à percussion
- N° de publication :FR498416 A
Praportchetovitch fr498416a (137.03 Ko)- Date de demande : 1915-07-23
- Date de publication :1920-01-10
- Demandeurs/Inventeurs : Lioubicha Praportchetovitch
Citations : 0
Jacques Alfred Mathey Doret
- grenade à main
- Description : principe d'une enveloppe en béton agglomérant des fragments durs
- N° de publication :FR488026 A
Mathey dore fr488026a- Date de demande : 1915-08-03
- Date de publication :1918-08-13
- Demandeurs/Inventeurs : Jacques Alfred Mathey Doret
Citations : 5
Charles Lucas
- grenade à main
- Description : Grenade à main percutante à empennage
- N° de publication :FR492416 A
Lucas fr492416a - Date de demande : 1915-08-31
- Date de publication :1919-07-08
- Demandeurs/Inventeurs : Charles Lucas
Citations : 1
Celeste Besozzi
- Système de grenade à main
- Description : description d'une grenade proche de la grenade SIPE italienne
- N° de publication : FR22111 E
Besozzi fr22111e (103.72 Ko)- Date de demande : 1915-09-13
- Date de publication :1921-05-13
- Demandeurs/Inventeurs : Celeste Besozzi
Citations : 0
W M Still And Sons Limited ; Ernest Henry Still
- grenade à main
- Description : grenade à manche
- N° de publication :FR488062 A
Still fr488062a (193.18 Ko)- Date de demande : 1915-09-20
- Date de publication :1918-08-16
- Demandeurs/Inventeurs : W M Still And Sons Limited ; Ernest Henry Still
Citations : 0
Samuel Curzon
- grenade percutante avec mécanisme de sureté pour mise de feu
- Description : brevet d'invention de la P3
- N° de publication : FR492574
Curzon fr492574a- Date de demande : 1915-09-24
- Date de publication :1919-07-11
- Demandeurs/Inventeurs : Samuel Curzon
Emile Feuillette
- grenade à fusil
- Description : grenade à tige Feuillette
- N° de publication :FR502511 A
Feuillette fr502511a - Date de demande : 1915-10-19
- Date de publication :1920-05-18
- Demandeurs/Inventeurs : Emile Feuillette
Citations : 0
Aime Joseph Bonna
- grenade en sidéro-ciment, munie ou non d'un percuteur pouvant etre employé comme fléchette
- N° de publication :FR491085 A
Bona fr491085a- Date de demande : 1915-11-30
- Date de publication :1919-05-20
- Demandeurs/Inventeurs : Aime Joseph Bonna
Citations : 6
Georges Paul Doux
- grenade à enveloppes multiples et à charge de mitraille
- Description : Grenade circulaire à double enveloppe
- N° de publication :FR498502 A
Mathian fr498502a (70.6 Ko)- Date de demande : 1915-12-29
- Date de publication :1920-01-14
- Demandeurs/Inventeurs : Andre Marie Mathian
William John Whiting
- grenade à main
- Description : levier percutant une amorce sur une grenade type Mill's
- N° de publication :FR498214 A
Whiting fr498214a - Date de demande : 1916-01-04
- Date de publication :1920-01-06
- Demandeurs/Inventeurs : William John Whiting
Citations : 0
Alfred Hirsch
- Bouchon allumeur pour grenade
- Description : Bouchon allumeur automatique
- N° de publication :FR22193 E
Hirsch fr502954a - Date de demande : 1916-05-16
- Date de publication :1921-05-14
- Demandeurs/Inventeurs : Alfred Hirsch
Citations :
Edouard Dumont
- grenade de sureté et autres projectiles
- Description : Grenade à fusil sur tige
- N° de publication :FR502881 A
Dumont fr502881a (101.48 Ko)- Date de demande : 1916-05-20
- Date de publication :1920-05-28
- Demandeurs/Inventeurs : Edouard Dumont
Joachim Lafitte
- grenade à percussion par détente
- Description : grenade à tige type F1 avec système d'allumage par inertie
- N° de publication :FR23856 E
Lafitte j fr525834a 2 (287.08 Ko)- Date de demande : 1916-05-24
Lafitte joachim fr23856e (356.83 Ko) Addition - Date de demande : 1916-06-13
- Date de publication :1922-01-13
- Demandeurs/Inventeurs : Joachim Lafitte
Citations : 0
Albert Dewandre ; Jules De Laminne
- grenade
- Description : Grenade Dewandre Laminne
- N° de publication : FR502921 A
Dewandre fr502921a - Date de demande : 1916-06-15
- Date de publication : : 1920-05-29
- Demandeurs/Inventeurs : Albert Dewandre ; Jules De Laminne
Marcel Gaupillat
- Bouchon-allumeur automatique pour grenade
- Description : Bouchon allumeur automatique
- N° de publication :FR502916 A
Gaupillat fr502916a (212.16 Ko)- Date de demande :1916-06-16
- Date de publication :1920-05-29
- Demandeurs/Inventeurs : Marcel Gaupillat
Marcel Gaupillat ; Francois Paban
- Bouchon allumeur automatique pour grenade
- Description : Bouchon Allumeur automatique
- N° de publication : FR502923 A
Gaupillat fr502923a (139.52 Ko)- Date de demande : 1916-06-26
- Date de publication : 1920-05-29
- Demandeurs/Inventeurs : Marcel Gaupillat ; Francois Pab
Jean Leon Muller
- grenade
- Description : Bouchon allumeur et ses améliorations
- N° de publication : FR22211 E
Muller fr505690a
Muller fr22194e 2
Muller fr22211e - Date de demande : 1916-07-26
- Date de publication : 1921-05-24
- Demandeurs/Inventeurs : Jean Leon Muller
Citations :
Alfred Hirsch
- Bouchon allumeur pour grenade
- Description : allumeur automatique
- N° de publication :FR22216 E
Hirsch fr22216e- Date de demande : 1916-08-04
- Date de publication :1921-05-24
- Demandeurs/Inventeurs : Alfred Hirsch
Citations : 0
Placide Marius Auguste Mounier
- Lance-grenade
- Description : Système lance grenade à l'extrèmité d'un canon de fusil
- N° de publication : FR492504 E
- Mounier 0 fr492504a (203.82 Ko)
- Date de demande : 1916-10-16
- Date de publication : 1920-02-05
- Demandeurs/Inventeurs : Placide Marius Auguste Mounier
Citations : 5
Placide Marius Auguste Mounier
- Description : Additions aux brevets de système lance grenade à l'extrèmité d'un canon de fusil
- Lance-grenade
- N° de publication :FR20953 E
Mounier 1 fr20953e (346.56 Ko)- Lance-grenade
- N° de publication :FR20954 E
Mounier 2 fr20954e (220.69 Ko)- Lance-grenade
- N° de publication : : FR20956 E
Mounier 3e fr20965e (442.24 Ko)- Lance-grenade
- N° de publication : : FR20957 E
Mounier 4e fr20965e (275.09 Ko)- Lance-grenade
- N° de publication :FR20958 E
Mounier 5e fr20965e (218.76 Ko)- Lance-grenade
- N° de publication :FR20960 E
Mounier 6e fr20965e (258.24 Ko)- Lance-grenade
- N° de publication :FR20962 E
Mounier 7e fr20965e (487.97 Ko)- Lance-grenade
- N° de publication :FR20965 E
Mounier 8e fr20965e (185.04 Ko) 8e addition
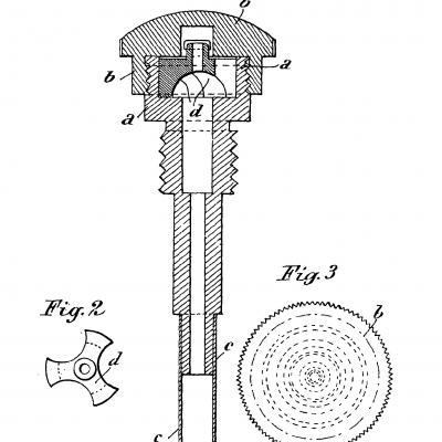
Perkussion As
- grenade à fusil et à main combinée
- Description : Grenade mixte à main et à fusil avec trou central et système de percussion par inertie
Perkussion fr509103a - N° de publication :FR509103 A
- Date de demande :
- Date de publication :1920-11-02
- Demandeurs/Inventeurs : Perkussion As
Marcel Gaupillat
- Bouchon-allumeur automatique pour grenade
- Description : Bouchon allumeur automatique
- N° de publication :FR22230 E
Gaupillat fr22230e - Date de demande : 1916-09-08
- Date de publication :1921-05-24
- Demandeurs/Inventeurs : Marcel Gaupillat
Citations : 3
Gualtiero Poma
- grenade à raquette
- Description : tube avec système d'amorçage à traction type Spezzone a tubo italien
- N° de publication :FR492378 A
Poma fr492378a- Date de demande : 1916-09-30
- Date de publication :1919-07-05
- Demandeurs/Inventeurs : Gualtiero Poma
Citations : 0
Pyrotechnische Fabrik Mueller
- grenade
- Description : Grenade à à fusil lance grenade
- N° de publication :FR492584 A
Pfm fr492584a - Date de demande : 1916-10-26
- Date de publication :1919-07-11
- Demandeurs/Inventeurs : Pyrotechnische Fabrik Mueller
Citations : 1
Knud Valdemar Nielsen
- Description : Grenade percutante à manche
- N° de publication :FR487536 A
Nielsen fr487536a (248.69 Ko)- Date de demande : 1916-10-31
- Date de publication : 1918-07-10
- Demandeurs/Inventeurs : Knud Valdemar Nielsen
Francois Schimmel
- Système de grenade
- Description : Grenade cylindrique lancées par une machine rotative
- N° de publication : FR503199
Schimmel fr503199a - Date de demande : 1917-02-06
- Date de publication :1920-06-04
- Demandeurs/Inventeurs : Francois Schimmel
Citations : 0
Eugene Andre Francois Naud
- grenade à fusil à grande portée
- Description : Grenade à tige porte message ou éclairante
- N° de publication :FR503200 A
Naud fr503200a - Date de demande : 1917-02-07
- Date de publication :1920-06-04
- Demandeurs/Inventeurs : Eugene Andre Francois Naud
Citations : 1
Francesco Perino
- grenade à main perfectionnée
- Description : grenade défensive fusante automatique ressemblant à la "biberon" espagnole
- N° de publication :FR494321 A
Perino fr494321a 1 - Date de demande : 1917-02-22
- Date de publication :1919-09-05
- Demandeurs/Inventeurs : Francesco Perino
Citations : 1
Comp Generale Electricite
- Lance-grenade
- N° de publication :FR503236 A
- Description : Lance grenade pour grenade autopropulsée
Generale electricite fr503207a 1- Date de demande : 1917-03-02
- Date de publication :1920-06-05
- Demandeurs/Inventeurs : Comp Generale Electricite
Citations : 2
Comp Generale Electricite
- grenade
- Description : grenade en forme d'ogive autopropulsée
- N° de publication : FR503236 A
Generale electricite fr503236a - Date de demande : 1917-03-02
- Date de publication :1920-06-05
- Demandeurs/Inventeurs : Comp Generale Electricite
Citations : 0
Rene Frugier
- grenade pouvant indifféremment etre lancée au fusil ou à la main
- Description : grenade type VB avec système d'allumage manuel
- N° de publication :FR503279 A
Frugier fr503279a- Date de demande : 1917-03-29
- Date de publication 1920-06-07
- Demandeurs/Inventeurs : Rene Frugier
Citations : 0
Guibert Gerard
- grenade à masselotte chargée
- Description : grenade ovoïde percutante; inventeur Français; modèle inconnu
- N° de publication :FR22322
Gerard fr493460a (165.31 Ko)- Date de demande : 1917-05-05
- Date de publication :1921-06-30
- Demandeurs/Inventeurs : Guibert Gerard
Citations : 0
Rene Frugier
- grenade pouvant etre lancée à la main ou au fusil
- Description : grenade à main et à fusil
- N° de publication :FR503399 A
Frugier fr503399a - Date de demande : 1917-05-24
- Date de publication :1920-06-09
- Demandeurs/Inventeurs : Rene Frugier
Citations : 1
Gio Ansaldo & Cie
- grenade-shrapnel
- Description : Grenade antipersonnelle à fusil ?
- N° de publication :FR499096 A
Ansaldo fr499096a (123.69 Ko)- Date de demande : 1917-06-16
- Date de publication :1920-01-30
- Demandeurs/Inventeurs : Gio Ansaldo & Cie
Edward Marsh Shinkle
- grenade à main
- Description : Grenade à main cylindrique
- N° de publication : : FR487621 A
Shinkle fr487621a (412.92 Ko)- Date de demande : 1917-06-27
- Date de publication :1918-07-17
- Demandeurs/Inventeurs : Edward Marsh Shinkle
Eymery Petit ; Albert Valette
- grenade
- Description : grenade défensive percutante
- N° de publication :FR495122 A
Petit fr495122a- Date de demande : 1917-07-18
- Date de publication :1919-09-30
- Demandeurs/Inventeurs : Eymery Petit ; Albert Valette
Citations : 0
Georges Malherbe
- Anneau élastique perfectionné pour bouchon de grenade
- Description : amélioration d'anneau de goupille de sécurité allumeur type billant
- N° de publication :FR503613 A
Malherbe fr503613a - Date de demande : 1917-08-02
- Date de publication :1920-06-15
- Demandeurs/Inventeurs : Georges Malherbe
Citations : 2
Calderoni Cesare
- Bombe à main
- Description : grenade italienne calderoni
- N° de publication : FR495923 A
Calderoni fr495923a- Date de demande : 1917-10-06
- Date de publication : 1919-10-22
- Demandeurs/Inventeurs : Calderoni Cesare
Citations : 1
Eduardo Fittipaldi
- grenade à main
- Description : grenade à main percutante
- N° de publication :FR495759 A
Fittipaldi fr495759a- Date de demande : 1917-10-27
- Date de publication :1919-10-17
- Demandeurs/Inventeurs : Eduardo Fittipaldi
Citation : 0
Niels Waltersen Aasen
- grenade à percussion pour fusil
- Description : grenade à fusil tromblon à percussion
- N° de publication :FR496037 A
Aasen fr496037a (138.25 Ko)- Date de demande : 1918-01-21
- Date de publication :1919-10-24
- Demandeurs/Inventeurs : Niels Waltersen Aasen
Pierre François Joosten
- Description : Bouchon allumeur
- N° de publication : FR504579 A
Joosten fr504579a (292.59 Ko)- Date de demande : 1918-03-18
- Date de publication : 1920-07-08
- Demandeurs/Inventeurs : Pierre François Joosten
Fed Adding Machine Corp
- grenade à main
- Description : grenade à main sphérique percutante
- N° de publication :FR496480 A
Federal fr496480a (466.17 Ko)- Date de demande : 1918-05-03
- Date de publication :1919-11-07
- Demandeurs/Inventeurs : Fed Adding Machine Corp
Citations : 0
Georges Jean Theophile Jacquet
-
grenade en chargeur, du type fusant, à amorcage électrique, pour exécuter tir de barrage par avion
- Description : grenade cylindrique quadrillée jetée par avion
- N° de publication :FR502702 A
Jacquet fr502702a 1 (219.49 Ko)- Date de demande : 1918-06-10
- Date de publication :1920-05-25
- Demandeurs/Inventeurs : Georges Jean Theophile Jacquet
Citations : 0
Lazzaro Gallotti
- grenade à inflammation électrique
- Description : allumeur électrique à pile
- N° de publication :FR492539 A
Gallotti fr492539a (131.95 Ko)- Date de demande : 1918-09-15
- Date de publication :1919-07-10
- Demandeurs/Inventeurs : Lazzaro Gallotti
Citation : 0
Frantisek Janecek
- grenade à main
- Description : grenade à manche percutante
- N° de publication :FR527990 A
Janecek fr527990a (318.66 Ko)- Date de demande : 1920-12-08
- Date de publication :1921-11-04
- Demandeurs/Inventeurs : Frantisek Janecek
Bombrini Parodi-Delfino
- fusée pour grenade à main
- Description : Description BPD italienne
- N° de publication :FR488519A
Delfino fr488519a - Date de demande : 1915-12-06
- Date de publication : 1918-10-18
- Demandeurs/Inventeurs : Bombrini Parodi-Delfino
Ajouter un commentaire
