31 - Allumeur Bourny Mle 1918 2ème type :
Le bouchon allumeur Bourny est officiellement breveté le 28 août 1923 et sera réglementaire sous la dénomination de bouchon allumeur Mle 1931 pendant 4 ans jusqu'à l'adoption du bouchon allumeur Mle 1935.
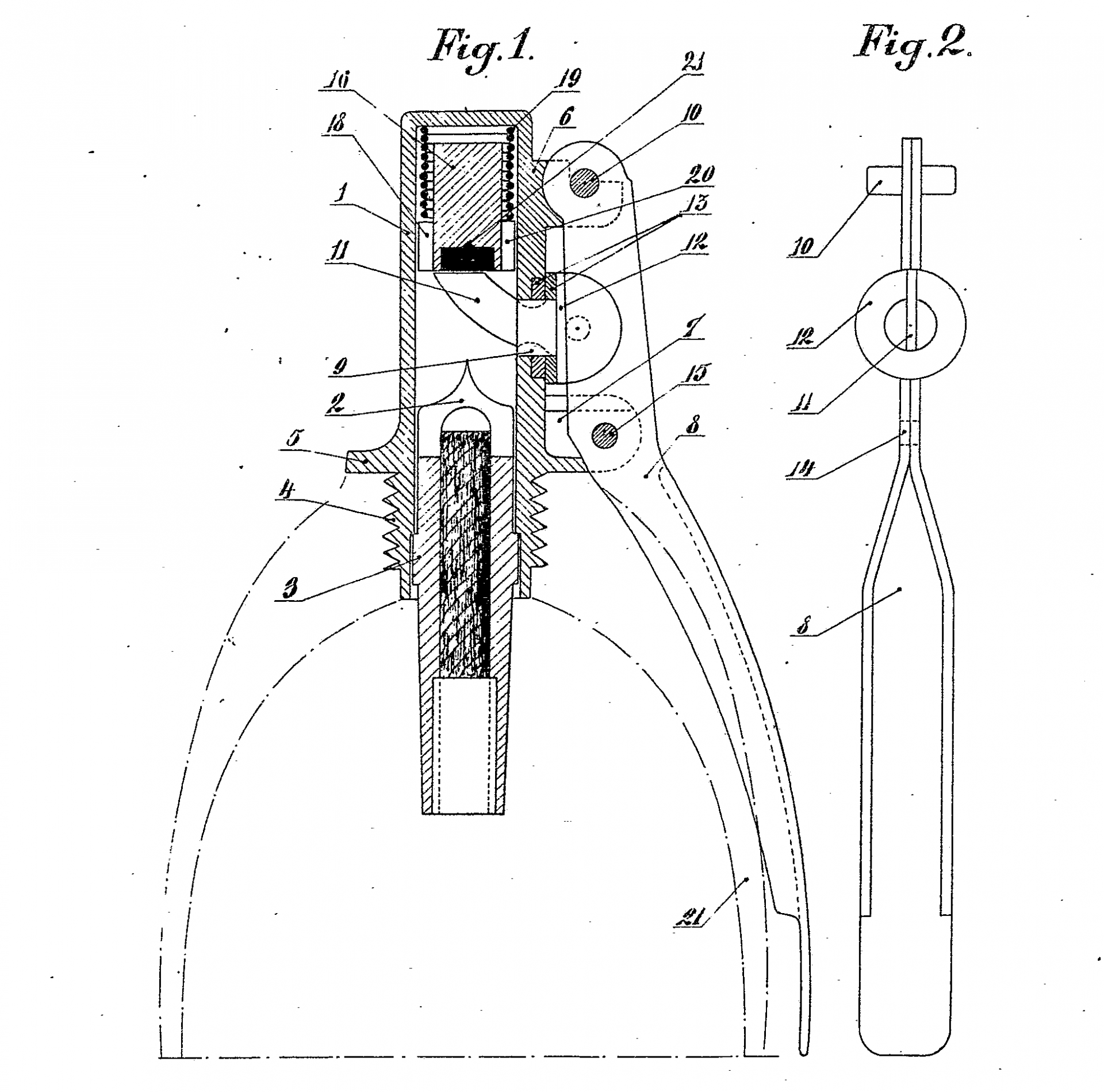
Le bouchon allumeur pése 50 g. Il est constitué d'un chapeau (1) se visant sur le corps de la grenade (4) à l'intérieur duquel un percuteur (2) est fixé sur un tube porte mèche (3) sur lequel est serti un détonateur d'un retard de 6 à 7 s. Le sommet du tube reçoit une masselotte (16) portant une amorce (21) comprimé par un ressort (19). La masselotte est maintenue en place par un ergot (11) passant par une fenêtre (9) dont l'embase (12) est recouverte d'une rondelle de cuir (13). Un levier (8) épousant la forme du corps de la grenade maintient l'ergot en contact avec la maselotte porte amorce. Le levier est maintenu par un pivot (10) sur les encoches de la chape supérieure du chapeau (6) et sécurisé par une goupille (15) traversant la chape inférieure (7) et le levier.


Ajouter un commentaire